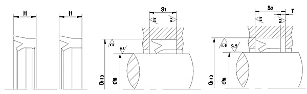
軸用Yx型圈
軸用YX活塞桿密封是一種有兩道密封唇口且外徑處為緊配合的唇形密封(SYX只有一道密封唇口),由于兩道唇口之間有額外的潤滑劑,故大大防止了摩擦和磨損。在有些情況下,這種密封甚至可以代替價格昂貴的串聯裝置。主要優點在于耐磨性極好,耐沖擊,抗擊出,壓縮變形小,提高了零壓力下的密封性能。適用于最苛刻的工作條件,極好地防止了外部空氣的進入,從而達到良好的密封效果。它的主要材料是邵爾93度聚氨脂,設計時可參照JB/ZQ4265-86標準。
工礦條件:
工作壓力:≤40MPa;
工作溫度:-35~+100℃;
工作介質:液壓油(礦物油基);
往復速度:≤0.5m/s。

規格及溝槽尺寸
| 訂貨號 | d | D | H | S1+0.2 | S2+0.2 | T |
| SYX/TSYX-18248 | 18 | 24 | 8 | 9 | 10.5 | 1.5 |
| SYX/TSYX-20268 | 20 | 26 | ||||
| SYX/TSYX-22288 | 22 | 28 | ||||
| SYX/TSYX-25318 | 25 | 31 | ||||
| SYX/TSYX-28348 | 28 | 34 | ||||
| SYX/TSYX-303810 | 30 | 38 | 10 | 12 | 13.5 | 1.5 |
| SYX/TSYX-324010 | 32 | 40 | ||||
| SYX/TSYX-354310 | 35 | 43 | ||||
| SYX/TSYX-364410 | 36 | 44 | ||||
| SYX/TSYX-404810 | 40 | 48 | ||||
| SYX/TSYX-455310 | 45 | 53 | ||||
| SYX/TSYX-505810 | 50 | 58 | ||||
| SYX/TSYX-556310 | 55 | 63 | ||||
| SYX/TSYX-566410 | 56 | 64 | ||||
| SYX/TSYX-607214 | 60 | 72 | 14 | 16 | 18 | 2 |
| SYX/TSYX-637514 | 63 | 75 | ||||
| SYX/TSYX-657714 | 65 | 77 | ||||
| SYX/TSYX-708214 | 70 | 82 | ||||
| SYX/TSYX-758714 | 75 | 87 | ||||
| SYX/TSYX-809214 | 80 | 92 | ||||
| SYX/TSYX-859714 | 85 | 97 | ||||
| SYX/TSYX-9010214 | 90 | 102 | ||||
| SYX/TSYX-9510714 | 95 | 107 | ||||
| SYX/TSYX-10011214 | 100 | 112 | ||||
| SYX/TSYX-10511714 | 105 | 117 | ||||
| SYX/TSYX-11012214 | 110 | 122 | ||||
| SYX/TSYX-12013214 | 120 | 132 | ||||
| SYX/TSYX-12513714 | 125 | 137 | ||||
| SYX/TSYX-13014214 | 130 | 142 | ||||
| SYX/TSYX-14015214 | 140 | 152 | ||||
| SYX/TSYX-15016214 | 150 | 162 | ||||
| SYX/TSYX-16017214 | 160 | 172 | ||||
| SYX/TSYX-17018618 | 170 | 186 | 18 | 20 | 22.5 | 2.5 |
| SYX/TSYX-18019618 | 180 | 196 | ||||
| SYX/TSYX-19020618 | 190 | 206 | ||||
| SYX/TSYX-20021618 | 200 | 216 | ||||
| SYX/TSYX-22023618 | 220 | 236 | ||||
| SYX/TSYX-25026618 | 250 | 266 | ||||
| SYX/TSYX-28029618 | 280 | 296 | ||||
| SYX/TSYX-30031618 | 300 | 316 | ||||
| SYX/TSYX-32034424 | 320 | 344 | 24 | 26.5 | 30 | 3.5 |
| SYX/TSYX-34036424 | 340 | 364 | ||||
| SYX/TSYX-36038424 | 360 | 384 | ||||
| SYX/TSYX-38040424 | 380 | 404 | ||||
| SYX/TSYX-40042424 | 400 | 424 | ||||
| SYX/TSYX-42044424 | 420 | 444 | ||||
| SYX/TSYX-45047424 | 450 | 474 | ||||
| SYX/TSYX-48050424 | 480 | 504 | ||||
| SYX/TSYX-50052424 | 500 | 524 | ||||
| SYX/TSYX-53055424 | 530 | 554 | ||||
| SYX/TSYX-56058424 | 560 | 584 | ||||
| SYX/TSYX-60062424 | 600 | 624 | ||||
| SYX/TSYX-63065424 | 630 | 654 | ||||
| SYX/TSYX-65067424 | 650 | 674 |
