軸用Y型圈
軸用Y型活塞桿密封有結構簡單、安裝方便、成本低、密封性能好等特點,用于活塞桿單向密封,而TSY油封是一種有兩道密封唇口且外徑處為緊配合地唇形密封(SY只有一道密封唇)。由于兩道唇口之間有額外的潤滑劑故大大防止了干摩擦和磨損。在有些情況下,這種密封甚至可以代替價格昂貴的串聯裝置。主要優點在于耐磨性極好,耐沖擊,抗擊出,壓縮變形小,提高了零壓力下的密封性能。適用于最苛刻的工作條件,極好地防止了外部空氣的進入,從而達到良好的密封效果。它的主要材料是邵爾93度聚氨脂,設計時可參照JB/ZQ4265-86標準。
工礦條件:
工作壓力:≤40MPa;
工作溫度:-35~+100℃;
工作介質:液壓油(礦物油基);
往復速度:≤0.5m/s。
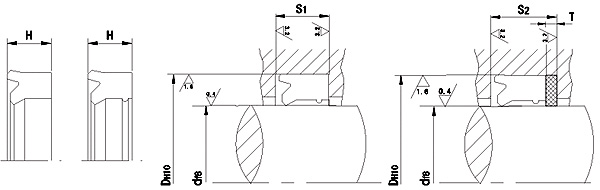
.jpg)
規格及溝槽尺寸
| 訂貨號 | d | D | H | S1+0.2 | S2+0.2 | T |
| SY/TSY-061458 | 6 | 14 | 5.8 | 6.3 | 7.8 | 1.5 |
| SY/TSY-081658 | 8 | 16 | ||||
| SY/TSY-101858 | 10 | 18 | ||||
| SY/TSY-122058 | 12 | 20 | ||||
| SY/TSY-142258 | 14 | 22 | ||||
| SY/TSY-162458 | 16 | 24 | ||||
| SY/TSY-182658 | 18 | 26 | ||||
| SY/TSY-202858 | 20 | 28 | ||||
| SY/TSY-223058 | 22 | 30 | ||||
| SY/TSY-253358 | 25 | 33 | ||||
| SY/TSY-102073 | 10 | 20 | 7.3 | 8 | 9.5 | |
| SY/TSY-122273 | 12 | 22 | ||||
| SY/TSY-142473 | 14 | 24 | ||||
| SY/TSY-162673 | 16 | 26 | ||||
| SY/TSY-182873 | 18 | 28 | ||||
| SY/TSY-203073 | 20 | 30 | ||||
| SY/TSY-223273 | 22 | 32 | ||||
| SY/TSY-253573 | 25 | 35 | ||||
| SY/TSY-283873 | 28 | 38 | ||||
| SY/TSY-324273 | 32 | 42 | ||||
| SY/TSY-364673 | 36 | 46 | ||||
| SY/TSY-405073 | 40 | 50 | ||||
| SY/TSY-455573 | 45 | 55 | ||||
| SY/TSY-506073 | 50 | 60 | ||||
| SY/TSY-284311 | 28 | 43 | 11.5 | 12.5 | 14 | |
| SY/TSY-324711 | 32 | 47 | ||||
| SY/TSY-365111 | 36 | 51 | ||||
| SY/TSY-405511 | 40 | 55 | ||||
| SY/TSY-456011 | 45 | 60 | ||||
| SY/TSY-506511 | 50 | 65 | ||||
| SY/TSY-567111 | 56 | 71 | ||||
| SY/TSY-637811 | 63 | 78 | 14.5 | 2 | ||
| SY/TSY-708511 | 70 | 85 | ||||
| SY/TSY-809511 | 80 | 95 | ||||
| SY/TSY-9010511 | 90 | 105 | ||||
| SY/TSY-567615 | 56 | 76 | 15 | 16 | 18 | |
| SY/TSY-638315 | 63 | 83 | ||||
| SY/TSY-709015 | 70 | 90 | ||||
| SY/TSY-8010015 | 80 | 100 | ||||
| SY/TSY-9011015 | 90 | 110 | ||||
| SY/TSY-10012015 | 100 | 120 | ||||
| SY/TSY-11013015 | 110 | 130 | ||||
| SY/TSY-12514515 | 125 | 145 | ||||
| SY/TSY-14016015 | 140 | 160 | ||||
| SY/TSY-10012515 | 100 | 125 | 18.5 | 20 | 22 | |
| SY/TSY-11013515 | 110 | 135 | ||||
| SY/TSY-12515015 | 125 | 150 | ||||
| SY/TSY-14016515 | 140 | 165 | ||||
| SY/TSY-16018515 | 160 | 185 | ||||
| SY/TSY-18020515 | 180 | 205 | ||||
| SY/TSY-20022515 | 200 | 225 | ||||
| SY/TSY-16019023 | 160 | 190 | 23 | 25 | 27.5 | 2.5 |
| SY/TSY-18021023 | 180 | 210 | ||||
| SY/TSY-20023023 | 200 | 230 | ||||
| SY/TSY-22025023 | 220 | 250 | ||||
| SY/TSY-25028023 | 250 | 280 | ||||
| SY/TSY-28031023 | 280 | 310 | ||||
| SY/TSY-32036023 | 320 | 360 | 29 | 32 | 35.5 | 3.5 |
| SY/TSY-36040029 | 360 | 400 |
