孔用Y型圈
孔用Y形圈具有結構簡單、安裝方便、成本低、密封性能好等特點。用于活塞桿單向密封。它的主要材料是主要材料有丁晴橡膠NBR和氟膠FKM,設計選用時可參照GB/T10708.3-2000標準。
工礦條件:
工作壓力:≤20MPa;
工作溫度:丁晴橡膠NBR:-30~+120℃;
氟膠FKM:-20~+200℃;
工作介質:液壓油(礦物油基);
往復速度:≤1.2m/s。

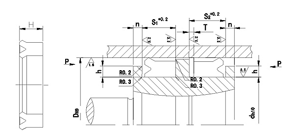
規格及溝槽尺寸
| 訂貨號 | D | d | H | S1 | S2 | n | hmin | T |
| PY-120444 | 12 | 4 | 4.4 | 5 | 6.5 | 4 | 3.5 | 1.5 |
| PY-160844 | 16 | 8 | ||||||
| PY-201244 | 20 | 12 | ||||||
| PY-251744 | 25 | 17 | ||||||
| PY-322444 | 32 | 24 | ||||||
| PY-403244 | 40 | 32 | ||||||
| PY-201056 | 20 | 10 | 5.6 | 6.3 | 7.8 | 4.5 | ||
| PY-251556 | 25 | 15 | ||||||
| PY-322256 | 32 | 22 | ||||||
| PY-403056 | 40 | 30 | ||||||
| PY-504056 | 50 | 40 | ||||||
| PY-564656 | 56 | 46 | ||||||
| PY-635356 | 63 | 53 | ||||||
| PY-503585 | 50 | 35 | 8.5 | 9.5 | 11 | 7 | ||
| PY-564185 | 56 | 41 | ||||||
| PY-634885 | 63 | 48 | ||||||
| PY-705585 | 70 | 55 | 11.5 | 5 | 2 | |||
| PY-806585 | 80 | 65 | ||||||
| PY-907585 | 90 | 75 | ||||||
| PY-1008585 | 100 | 85 | ||||||
| PY-1109585 | 110 | 95 | ||||||
| PY-705011 | 70 | 50 | 11.3 | 12.5 | 14.5 | 9.5 | ||
| PY-806011 | 80 | 60 | ||||||
| PY-907011 | 90 | 70 | ||||||
| PY-1008011 | 100 | 80 | ||||||
| PY-1109011 | 110 | 90 | ||||||
| PY-12510511 | 125 | 105 | ||||||
| PY-14012011 | 140 | 120 | ||||||
| PY-16014011 | 160 | 140 | ||||||
| PY-18016011 | 180 | 160 | ||||||
| PY-12510014 | 125 | 100 | 14.8 | 16 | 18 | 12 | ||
| PY-14011514 | 140 | 115 | ||||||
| PY-16013514 | 160 | 135 | ||||||
| PY-18015514 | 180 | 155 | ||||||
| PY-20017514 | 200 | 175 | 18.5 | 6 | 11.5 | 2.5 | ||
| PY-22019514 | 220 | 195 | ||||||
| PY-25022514 | 250 | 225 | ||||||
| PY-20017018 | 200 | 170 | 18.5 | 20 | 22.5 | 14.5 | ||
| PY-22019018 | 220 | 190 | 14 | |||||
| PY-25022018 | 250 | 220 | ||||||
| PY-28025018 | 280 | 250 | ||||||
| PY-32029018 | 320 | 290 | 23 | 7 | 3 | |||
| PY-36033018 | 360 | 330 | ||||||
| PY-40036023 | 400 | 360 | 23 | 25 | 28 | 19 | ||
| PY-45041023 | 450 | 410 | ||||||
| PY-50046023 | 500 | 460 |
